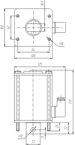
Электромагнит ЭМД 6122С 380В
![]() | Электромагниты (приводы) длинноходовые предназначены для применения в качестве привода для дистанционного управления различными механизмами, рабочие органы которых требуют возвратно-поступательного перемещения. Электромагниты типа ЭМД заменяют выпускаемые на Украине электромагниты МИС, ЭМ33, ЭД, ЭМ44 и по своим характеристикам и присоединительным размерам полностью им соответствуют. Отличительной особенностью электромагнитов серии ЭМД является полнее отсутствие пускового тока и повышенная степень защиты. Электромагнит ЭМД 2 изготавливается во взрывозащищённом исполнении. Маркировка взрывозащиты IExmIIT3X по ГОСТ Р51330.0 - 99 и ГОСТ Р 51330.17 - 99. Свидетельство о взрывозащищённости выдано Центром сертификации "СТВ" г. Саров Нижегородской области. Электромагниты ЭМД рассчитаны для включения в сеть постоянного или переменного тока стандартных и редко применяемых напряжений. Выводы катушки выполняются через электрический соединитель типа СЭ11-19. Климатическое исполнение У3, Т3, УХЛ4 по ГОСТ 15150. Степень защиты обычного исполнения IР30, взрывозащищённого IP67 по ГОСТ 14255. ТУ3428-008-00213575-2000. |
Основные технические параметры электромагнитов серии ЭМД
| Габарит | Номинальное напряжение питания, В | Режим работы ПВ% | Номинальное тяговое усилие, Н | Номинальный ход якоря, мм | Число циклов в час | Потребляемая мощность, не более, Вт | Время срабаты-вания, с | Время возврата, с | Масса якоря, кг | Масса, кг |
|---|---|---|---|---|---|---|---|---|---|---|
ЭМД 0 | 12; 24; 48; 110; 110 50Гц; 127 50Гц; 220 50Гц; 380 50Гц | 100; 40; 15 | 10; 15; 20 | 10 | 2400; 1200; 1200 | 25; 40; 50 | 0,25 | 0,15 | 0,1 | 0,4 |
ЭМД 1 | 100; 40; 15 | 15; 22; 30 | 15 | 2400; 1200; 1200 | 35; 56; 70 | 0,35 | 0,20 | 0,16 | 0,5 | |
ЭМД 2* | 100; 40; 15 | 18(15*); 27; 36 | 20 (15*) | 1200; 600; 600 | 45; 72; 90 | 0,45 | 0,30 | 0,21 | 0,92 | |
ЭМД 3 | 100; 40; 15 | 30; 45; 60 | 20 | 1200; 600; 600 | 55; 90; 110 | 0,5 | 0,40 | 0,32 | 1,76 | |
ЭМД 4 | 100; 40; 15 | 45; 67; 90 | 25 | 1200; 600; 600 | 65; 105; 130 | 0,65 | 0,45 | 0,56 | 3,0 | |
ЭМД 5 | 100; 40; 15 | 60; 90; 120 | 25 | 1200; 600; 600 | 75; 120; 180 | 0,65 | 0,45 | 0,73 | 5,0 | |
ЭМД 6 | 100; 40; 15 | 90; 135; 180 | 30 | 600; 300; 300 | 85; 135; 190 | 0,75 | 0,50 | 1,15 | 8,5 |
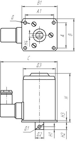
Габаритные, установочные и присоединительные размеры электромагнитов ЭМД 0...6
| Тип | Размеры, мм | ||||||||||||||||
|---|---|---|---|---|---|---|---|---|---|---|---|---|---|---|---|---|---|
| А | А1 | В | В1 | Д | Д1 | Д2 | Д3 | Д4 | Д5 | С | Н | Н1 | Н2 | Н3 | Н4 | Н5 | |
| ЭМД 0 | 42 | 46 | 52 | 58 | 5,6 | - | - | 50 | 5,3 | 12 | 90 | - | - | - | 5 | - | 75 |
| ЭМД 1 | 46 | 51 | 58 | 63 | 5,5 | 4 | 14 | 54 | 6,5 | 16 | 97 | 87 | 6 | 16 | 5 | 8 | 95 |
| ЭМД 2* | 54 | 56 | 70 | 73 | 7 | 6 | 14 | 62 | 6,5 | 33 | 110 | 95 | 6 | 16 | 5 | 8 | 105 |
| ЭМД 3 | 54 | 61 | 70 | 80 | 7 | 6 | 24 | 68 | 8 | 31 | 115 | 120 | 6 | 16 | 5 | 10 | 122 |
| ЭМД 4 | 69 | 70 | 81 | 82 | 7 | 6 | 24 | 76 | 8 | 37 | 120 | 140 | 6 | 20 | 5 | 10 | 148 |
| ЭМД 5 | 70 | 85 | 90 | 100 | 7 | 6 | 24 | 89 | 8 | 37 | 130 | 143 | 6 | 20 | 5 | 10 | 151 |
| ЭМД 6 | Размер указан на габаритном чертеже | ||||||||||||||||
Маркировка взрывозащиты IExmIIT3X по ГОСТ Р51330.0 - 99 и ГОСТ Р51330.17 - 99
Свидетельство о взрывозащищённости выдано Центром сертификации "СТВ" г. Саров Нижегородской области .
Во взрывозащищенном исполнении ЭМД-2 делаются только на пост. ток 24В с гибким выводом 3м по умолчанию.
| тянущего исполнения | толкающего исполнения | |
|---|---|---|
![]() | ![]() |
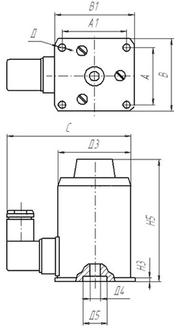
Электромагниты ЭМД 6
| тянущего исполнения | толкающего исполнения | |
|---|---|---|
![]() | ![]() |
Электромагнит ЭМД 2 Вз

Таблица соответствия для замены электромагнитами ЭМД
электромагнитов серий МИС, ЭМ44, ЭМ33, ЭД
| Основание МИС | Основание ЭМ33 | |||
|---|---|---|---|---|
| ЭМД 0 | МИС 0 | - | ЭМ33 - 2 | ЭД03 |
| ЭМД 1 | МИС 1 | - | ЭМ33 - 3 | ЭД04 |
| ЭМД 2 | МИС 2 | ЭМ44 - 31 | ЭМ33 - 4 | ЭД05 |
| ЭМД 3 | МИС 3 | ЭМ44 - 32 | ЭМ33 - 5 | ЭД06 |
| ЭМД 4 | МИС 4 | ЭМ44 - 33 | ЭМ33 - 6 | ЭД07 |
| ЭМД 5 | МИС 5 | - | ЭМ33 - 7 | ЭД08 |
| ЭМД 6 | МИС 6 | ЭМ44 - 37 | ЭМ33 - 8 | ЭД09 |
Структура условного обозначения электромагнитов ЭМД
ЭМД 1 1 1 1 С УХЛ4
| ЭМД | Обозначение серии электромагнита |
|---|---|
| 1 | Цифра. Условное обозначение габарита электромагнита: 1; 2; 3; 4; 5; 6. |
| 1 | Цифра. Условное обозначение исполнения по способу воздействия на исполнительный механизм: 1 - тянущее исполнение; 2 - толкающее исполнение |
| 1 | Цифра. Условное обозначение рода тока: 1 - постоянный; 2 - переменный. |
| 1 | Цифра. Условное обозначение режима работы (относительной продолжительности включения, %): 0 - ПВ100%; 1 – ПВ15%; 2 – ПВ40%. |
| С | Буква. Условное обозначение исполнения выводов катушки: М - гибким выводом; С - соединителем электрическим СЭ11-19; П - соединителем электрическим 2РМГ. |
| УХЛ4 | Буквы и цифра. Условное обозначение климатического исполнения и категории размещения по ГОСТ 15150: У3; Т3; УХЛ4. |
Цифры. Условное обозначение исполнения по присоединительным размерам электромагнита: 33 - присоединительные размеры электромагнитов серии ЭМ 33; без цифр - стандартные присоединительные размеры согласно чертежа. | |
Буквы. Условное обозначение взрывозащищённого исполнения для ЭМД 2: Вз - взрывозащищённое исполнения; без буквы - общепромышленное исполнение |
Задать вопрос
Дополнительная вкладка, для размещения информации о магазине, доставке или любого другого важного контента. Поможет вам ответить на интересующие покупателя вопросы и развеять его сомнения в покупке. Используйте её по своему усмотрению.
Вы можете убрать её или вернуть обратно, изменив одну галочку в настройках компонента. Очень удобно.
Раздел не найден.












































































































































































































































